我們擅長商業策略與用戶體驗的完美結合。
歡迎瀏覽我們的案例。
近日,“華為與懂車帝、汽車之家等汽車門戶平臺停止合作”的消息一經披露便炸了鍋,隨之引發大量討論與猜測。
首先讓人們聯想到的便是上個月懂車帝冬測里,雙方疑似結下的梁子。
在 2023 懂車帝冬測中,問界 M7 增程版以 31.6% 的續航達成率排名倒數第一,余承東對此表示,“坑人的測試”,“科學與嚴謹才是應該遵循的基本規則。”懂車帝則在隨后表示,不存在區別對待。
雙方各說各的似乎并沒有讓這次矛盾走向一個圓滿的消解,但倘若因為一場冬測風波便把幾大汽車門戶網站的渠道切斷,又顯得有些意氣用事。
面對或將越來越多的猜測與解讀,華為相關人員在 1 月 3 日向媒體表示,由于鴻蒙智行與部分平臺會員門店業務原合作協議到期,在新的商務洽談達成一致前暫緩會員門店業務合作,其他合作業務仍正常進行。
雖說以華為的口徑,僅僅是停下了與部分平臺的會員門店這個單一業務,著實聽起來事兒不大,但一方面,此次華為停掉的懂車帝、汽車之家、易車網,都可謂是賽道內 Top 級的汽車門戶網站。
另一方面,對于頭部門戶網站來說,會員門店這條單一業務的含金量之大,一直以來都是各大車企經銷商習以為常的必氪項目。
所以這件事情在談擎說 AI 看來,其實可以凝聚成一個核心問題來回答,即華為為何要嘗試打破行業慣例,“拋棄”汽車門戶網站?
門戶網站,不再一家獨大
“會員門店”這條業務具體是什么?以問界為例,我們當前在懂車帝、汽車之家來搜索其相關車型,經銷商信息已經無法查找。看似僅是一小環,但其實相當于斬斷了相關經銷商從懂車帝等汽車門戶網站的直接獲客渠道。
鄭州某一線豪華品牌 4S 店總經理譚峰(化名)向談擎說 AI 表示,目前自己店內的獲客渠道主要有幾條,一是 walk-in(非預約到訪),二是官網、公眾號等品牌自有渠道,三是汽車之家等三方渠道,四是短視頻平臺、直播等新興渠道線上引流。
至于汽車之家等三方渠道的客戶轉化占比如何,譚峰進一步向我們表示,這是一條核心的大渠道,雖然對高知名度的品牌來說,本身自帶流量,在三方平臺的投入產出比不能說是奇效,但不投肯定還是虧的。
所以看起來輕描淡寫的一步棋,似乎可以理解為華為向傳統汽車經銷商獲客渠道發起挑戰所打響的第一槍。
對于華為此次的舉措,作為一名資深業內人士,譚峰認為,核心原因在于“新的商務洽談達成一致前”這個關鍵點。
對此譚峰表示,“這幾年在第三方的汽車大平臺投放有兩個問題,一是投入在不斷上漲,比如我們長期在 XX 合作,這兩年一直都在漲,二是投入漲了,產出效果不跟著漲,性價比越來越低。”
“比如我們在 XX 一直買的是一個標準包,先不提轉化,畢竟這個不能全靠平臺,但最起碼之前到店都還不錯,現在是一個(客戶)線索幾家 4S 店同時拉扯,這給我們或者客戶的體驗都不會太好。”
為何會如此?在談擎說 AI 看來,答案也許就在于譚峰所言的第四條渠道,即三方渠道的多元化,正在對傳統汽車門戶網站獨當一面的引流含金量發起挑戰。
一方面,得益于流媒體崛起,近年越來越多汽車媒體、車評人等 KOL 資源從各大平臺橫空出世,這無疑會切走一部分傳統門戶平臺的蛋糕。
另一方面,越來越多的渠道新形制,新資源正在為車企渠道造就精細化價值,進而不單單局限在可以為品牌所用,經銷商們同樣可以在此找到獨屬于自己的新機會。
比如曾經選購車,大家基本繞不開品牌官網或是汽車門戶網站這兩條途徑,但今天諸如抖音、小紅書等流量平臺,正在用戶選擇下一步步強化自身從信息到工具的屬性,成為經銷商們新的優質流量洼地。
所以如果說曾經汽車門戶網站是經銷商們通過第三方引流繞不開的一間“收費站”,那么今天,條條大路通羅馬似乎正在成為現實。
品牌自建渠道的契機
除了第三方渠道多元化造就的條條大路通羅馬,越來越多的新品牌似乎也已經盯上了自己修路的可能性。
曾經的傳統汽車賽道格局穩固,每個品牌內涵是什么,核心競爭力是什么基本都已經固化,比如 BBA 和兩田,德系車和法系車,稍微了解點車基本都能說出個大概差異,普遍的社會面認知,造就了一種“人找車”的驅動模式。
其實很好理解,就比如我們每天的食蔬糧雜,日用百貨,其實都是非常固化的,這也就必然把我們導向了一個像是超市,大賣場這樣的選購樞紐,諸如此類的邏輯還有很多,比如汽車維修店,4S 店都會扎堆開在一起。
這一模式之下,樞紐式渠道的重要性就顯而易見,而汽車門戶網站的天然屬性恰好就成了擔任這一樞紐的不二人選。
但隨著如今越來越多的新玩家出現,選擇邏輯便會出現顛倒,畢竟沒有多少人會為一個陌生品牌產生天然的固化認知,新玩家想要顛覆傳統汽車市場,便需要從一種“車找人”的姿態出發,此時單點發力的主動意義就大于樞紐的被動。
這一點同樣不難理解,畢竟我們鮮少看到一個白板汽車品牌,單純借力門戶平臺走向繁榮。
在談擎說 AI 看來,門戶平臺本質上是在品牌進入營銷的治理周期后,一個相對穩定的獲客引流渠道,營銷引流的長期價值,本質還是要靠品牌自身從定位到認知再到治理,一步步穩扎穩打。
問界們亦是如此,門戶平臺可以給到其多一個穩定性價值,但從借力華為造車,到代表華為造車,這一質變則須通過其步步自建才得以實現。
在談擎說 AI 看來,新能源為市場帶來的新鮮血液,看似會給人畜無害的汽車門戶網站創收,但實則可能會革了后者的命。
這一猜測的核心原因在于,無論今時往日,一個白手起家的品牌,從定位到認知再到治理,路徑基本都是相似的,但手段已然不可同日而語。
從特斯拉到蔚小理,再到埃安、深藍、問界、仰望,一個同傳統油車時代鮮明的差異在于,大家在面對“自建”的議題時,積極性可謂空前。
這樣的新思維轉變,一方面,很大程度上削弱了三方渠道,尤其是樞紐平臺的工具價值,比如曾經購車繞不開的比價,汽車門戶平臺是黃金入口,但今天高度透明的定價讓其意義逐漸乏味。
另一方面,行業整體換擋,無論傳統還是新興品牌,類似的思維模式同樣會導向經銷商層面。
就比如今天在抖音、小紅書等平臺上,除了大量汽車品牌和產品層面的信息和工具性內容,越來越多地方 4S 店賬號也正在出現,從短視頻到直播,內容五花八門,但無疑讓我們看到了經銷商們跟隨行業,對于自建渠道做出的不斷嘗試。
“我們店當前自建渠道(獲客)占比還很小,畢竟早期階段大家也都是五花八門在試錯,常規的短視頻,直播的,甚至還有拍短劇的,但身邊已經做得很好的同行的確是有,而且投入完全可控,豐儉由人。”譚峰說。
一邊是三方投放越來越多的可選項,一邊是自建思維嵌入新世代品牌的基因之中,也許正是在這些時代變革里,懂車帝們的單一渠道價值正在被不斷稀釋,以至于合作價格水漲船高,服務體驗卻與之愈行愈遠,步入惡性循環。
“問界時刻”下,華為要摸著特斯拉過河?
如果說前兩段我們闡述的是天時和地利,那么為何是華為,而非北汽,而非小康打響了第一槍?這離不開“問界時刻”所成就的人和。
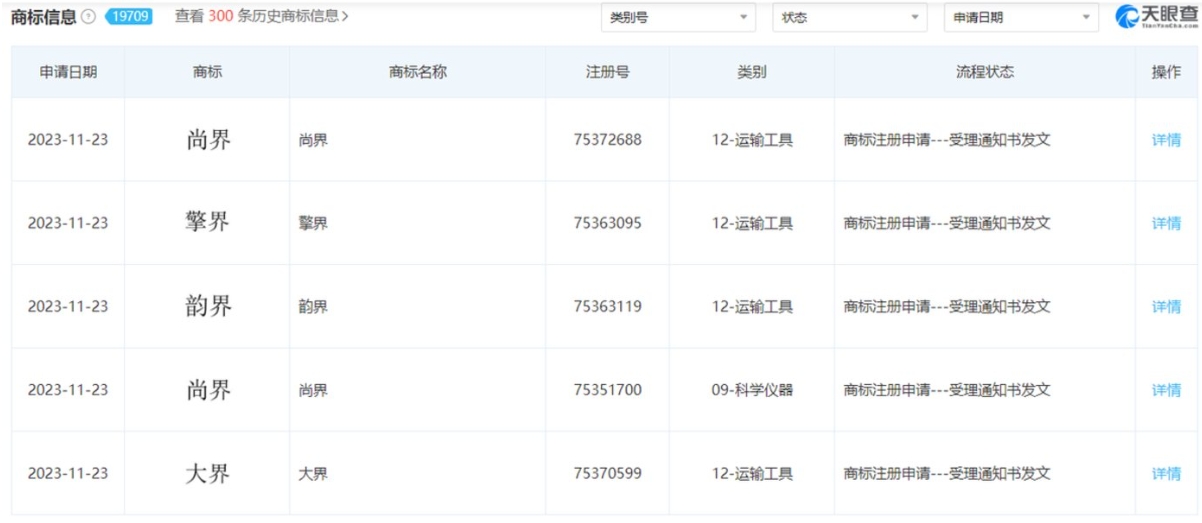
華為“造車”的成功,自智選車模式的問界以來我們有目共睹,但其野心顯然不止步于此,天眼查 APP 顯示,今年下半年華為已經密集申請注冊了“尚界”、“擎界”、“大界”等一系列界字輩兒商標。

氣勢洶洶之下,其實已經有人拿華為與零廣告的特斯拉對比,也有人發問,華為是要跟隨特斯拉的零廣告模式嗎?但我們不妨換個問法,即特斯拉鼎盛之時所具備的前提,問界今天占幾樣?
首先就是廣告+渠道。
不妨看特斯拉,不投廣告并不代表特斯拉就沒有自身的廣告和渠道資源,其核心其實還是自建的玩法,而非把所有的希望都寄托于廣告團隊或者找第三方渠道平臺。
廣告這一點無需過多贅述,“宇宙頂流”馬大佬自身就是廣告本告,是再牛的團隊也鮮能做出的個例,不僅擁躉云集,且自身極為擅長營銷。
渠道方面,比如收購推特(非市場投放費用,而是計入到了投資板塊),本質上也是買斷自建的思維,而非類似于租賃拎包入住的常規投放。
若用問界來類比,兩家某種程度上存在相似性,都有個靈魂人物,也都是一時間里的現象級品牌。
一方面可以依托于自身營銷體系的鴻蒙智行,另一方面,就像其背后自帶流量的捧哏余承東一句遙遙領先,多少也有些馬大佬推特治司的味道了,這套組合拳的勢能其實也不遜色。
從結果來看,就比如據有文章顯示,一位鴻蒙智行廣州銷售人員曾表示,他所在的門店中,靠線上線索來買車的人不到一成,目前合作暫緩的影響不大。
其次,除了廣告與渠道資源之外,汽車作為重決策周期商品,本身就附帶一定的“面子”成分,所以傳播看似是必不可少的一環,但本質還是為了傳播手段背后的賦能價值。
同樣以特斯拉為例,其雖然不主動做第三方傳播,卻總會有大批量媒體和輿論愿意“自來水”。
這背后產品自然是一方面要素,還有很重要的一點在于,特斯拉不僅是市值甩其它車企幾條街的電動汽車行業先驅,馬大佬造車的同時還造火箭,這樣的背書價值無疑是行業內普遍稀缺的。
在這一點上,華為對于鴻蒙智行的背書力也同樣是顯而易見的。
一層層的勢能累計之下,毫無疑問,特斯拉占到了電動汽車行業的先機優勢,也因此,無論是媒體還是輿論,在討論一個行業時,往往很難繞過開拓者這個角色,這也就給到了特斯拉完美的首發效應。
具體來說,品牌想讓媒體報道,哪怕是批評性報道,也得具備兩個點:要么有實打實的預算,要么有流量價值。無論特斯拉還是問界,背后有的都是現象級能力,你有流量,能讓內容曝光最大化,為媒體帶來價值,那么自然就會有媒體愿意主動當自來水。
所以總的來看,對于華為后續在汽車生意上零廣告模式的猜測,客觀存在一定的契機與自身實力支撐,但過于琢磨是否零廣告本身的意義其實不大。
就像隨著比亞迪銷量正式在國內超越特斯拉,越來越多市場也在被前赴后繼的新勢力們蠶食,即便“嘴硬”如馬斯克,特斯拉零廣告的口徑似乎也在今天開始松動了。
產品也許可以離開廣告,但必然離不開傳播,離開廣告的核心底氣,在于自建渠道的優越性,在于得勢,而未知,卻永遠是未來的主旋律。
所以在談擎說 AI 看來,相較于是否零廣告,華為此次舉措其實釋放出了一個更加重要的信號,即汽車行業營銷引流渠道的變遷,正在由量起質。
從華為打響的第一槍之后,也許很快,更加精細化的營銷、引流模式便會在行業內成為主流,而這無疑將是對傳統汽車門戶網站們提出的一次大考。